Type A21H Low Lift Safety Valve
low lift, metal to metal seated/soft sealthreaded connection end
online service
Type A21H, KA21 Pressure Reilef Valve
safety valve/pressure relief valve, angle type
low lift, metal to metal seated/soft seal
threaded connection end
Applications
Provided as safety device for protection against excessive pressure in pressure vessels.
Approved for gases and fluids.
Working temperatures: A21F, A21H-C, A21W-P,R ≤ 200℃; KA21Y ≤ 100℃
Standards Compliance
Design and Manufacture: GB/T 12241-2005, GB/T 12243-2005
Face to Face(end to end): JB/T 2203-1999
Test and Inspection: GB/T 12243-2005
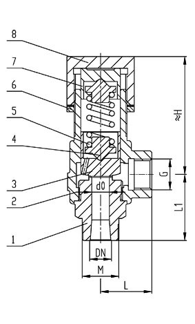
Material for main parts
NO
Name of part
A21H-C/A21F,KA21Y-C Material
A21W-P/A21F-P /KA21Y-P Material
A21Y-R Materials
1
Union
20
304
316
2
Union nut
35
2Cr13
304
3
Nozzle
35
304
316
4
Body
2Cr13
304
316
5
Disc
2Cr13/PTFE
304/PTFE
316
6
Spring Washer
2Cr13
304
316
7
Spring
50CrVA
50CrVA coated teflon
50CrVA coated teflon
8
Locking Nut
Q235-A
2Cr13
304
9
Spring guide
2Cr13
304
316
10
Adjust nut
Q235-A
2Cr13
316
Sealing surface of material "H" depositing D507, "W" same as body, "Y" depositing stellite, "F" PTFE soft seal
Essential:
TS
Safety accessory and Safety protection device
Dimensions(mm)
Type
DN
do
d
D0
M
d1
D1
L
L1
≈H
KA21Y-16C,
15
12
15
20
M27x1.5
G1/2"
30
35
76
66
20
16
20
25
M33x1.5
G3/4"
34
40
87
68
25
18
25
31
M39x1.5
G1"
40
50
100
105
A21Y-64, A21Y-64P
15
10
15
25
M39x1.5
G1"
44
50
100
66
20
10
20
31
M39x1.5
G1"
44
50
100
68
25
12
25
31
M39x1.5
G1"
44
50
100
105
A21W-160
15
8
20
/
M24x2
G1"
44
50
100
261
20
8
25
/
M33x2
G1"
44
50
100
261
25
8
28
/
M36x2
G1"
44
50
100
285
Remark: NPT, R, G thread are accepted
Valves are delivered at a set pressure, therefore when ordering
please confirm set pressure, medium and temperature
Manufacture License of Special Equipment, People's republic of China
A21H-16C,A21H-40,
A21W-16P, A21W-40P,
KA21Y-16P
A21Y-100, A21Y-100P
A21W-160P
Welcome to our website! Please send your words at any time in the following form and ask us, we will contact you and provide you with the corresponding service as soon as possible. Please write in English.
A27H Low Lift Plain Lever Type Safety Valve
low lift safety valvemetal to metal seatedwith plain lever devicethreaded connection end
Learn MoreType A28H Full Lift Plain Lever Safety Valve
full lift safety valveStandard safety valve for fluidsmetal to metal seatedwith plain lift devicethreaded end
Learn MoreType A61H High Pressure Welded End Safety Valve
safety valves/pressure relief valves, angle type low lift safety valvemetal to metal seatedsocket weld end acc. to ASME B16.25
Learn MoreTpye AY42H High Pressure Safety Overflow Valve
safety valve/pressure relief valve, angle typesafety overflow valve, full lift, standard safety valve for liquids,metal to metal seated, thread connection end
Learn More



